
TR de böyle bir yol yok. Olsa aracta hasar görür , ön tekerler önce havaya kalkar, sonra düşer
Ama bozuk yollara girerseniz, çok sık zıplayabiliyor arkadaki çekme karavan. Topuz tam kilitlenmedi ise karavan arkada kalıyor haliyle. Fren de yoksa , tehlike büyük. Temsili çizim site içinde oto park çıkışında Eğim %6 yol 50metre
Öncelikle ilginize çok teşekkür ederim. Eğim açısı hesabımı nasıl yaptığımı da bildirmek istedim doğrudur inşallah. Sorum da 1' yanlış yazmışım şu an yazdığım bilgiler tam bilgidir. Çok teşekkür ederim, selamlarımla. EĞİM AÇISI HESABI ==Eğer yanlış anlamadıysam merak ettiğiniz durumun gerçek ölçekte ki görüntüsü aşağıdaki gibi olacaktır.
Şayet vaziyet böyle ise endişe duyacağınız bir durum söz konusu olmayabilir
Ekli dosyayı görüntüle 643317
Ekli dosyayı görüntüle 643318
Ekli dosyayı görüntüle 643319
? =50 metre Merak ettiğim önemli konu ,düzlüğe çıkma anında sorun yaşamadan yola devam edebilir miyim? İlk soru resimdeki gibi ( karavan çeki demirini ters tepki yapar mı )sorunlar yaşanır mı?Açıkçası tam olarak neyi bulmaya çalıştığınızı anlayamadım.
Araç yada karavanın altı sürter mi? Karavan, çeki topuzundan ayrılır mı? Gibi sorulara mı cevap arıyorsunuz?
Eğer eğim bulmak istiyorsanız soru işareti ile gösterdiğim alanın uzunluğunu yazabilir misiniz?
Bu sayede, eğer merak ettiğiniz konu yukarıdaki sorular ise yanıtları güncelleyeceğim çizimde görebilirsiniz.
Ekli dosyayı görüntüle 643326
? =50 metre Merak ettiğim önemli konu ,düzlüğe çıkma anında sorun yaşamadan yola devam edebilir miyim? İlk soru resimdeki gibi ( karavan çeki demirini ters tepki yapar mı )sorunlar yaşanır mı?
Sizi çok meşgul ettim, hakkınızı helal edin içim çok rahatladı ilginize çok teşekkür ederim. Selamlarımla.50M uzunlukta 350cm yüksekliğe çıktığınızda eğiminiz %4 olur.
Eğer %7'lik bir eğim varsa çıktığınız alan 614cm olacaktır.
Her iki durumda da sıkıntı yaşamazsınız.
Ekli dosyayı görüntüle 643327
Rica ederim.Sizi çok meşgul ettim, hakkınızı helal edin içim çok rahatladı ilginize çok teşekkür ederim. Selamlarımla.
Oturduğum sitemin oto parkı. Düz alanda (Araç+ karavan)'ım park halinden 75 metre hareket ettikten sonra bu rampayı çıkacak ve 25-30 metre sonra da siteden çıkış olacak.Rica ederim.
Verdiğiniz bilgiler doğrultusunda bir çizim yaptım sadece.
Yalnız bu senaryo da bir şeyler eksik gibi.
Öncelikle burası neresi? Bir yol mu? AVM gibi bir alanın çıkış koridoruna bağlanan bir rampa mı?
%100 diyebileceğimiz bir hesaplama istiyorsanız bana bunları da sağlamanız gerekir![]()
Çizimlerde rampayı net 50m olarak belirledim. Bu mesafe kısalırsa eğimde artış olur.Oturduğum sitemin oto parkı. Düz alanda (Araç+ karavan)'ım park halinden 75 metre hareket ettikten sonra bu rampayı çıkacak ve 25-30 metre sonra da siteden çıkış olacak.
Açık otopark yükseklik sorunu yok.Çizimlerde rampayı net 50m olarak belirledim. Bu mesafe kısalırsa eğimde artış olur.
Karavanınız girebildiği bir garaj çok kullanışlı olmalı. Tavanda havalandırma tesisatı vb. üniteleri yer alıyor mu?
Karavanınız min.230-240 cm yüksekliğindedir. Bazı site otoparklarında denk geliyorum 200m üstü araç girişi yasak oluyor. Benim aracım 190cm bazen buralardan geçerken refleks olarak kafamı bile eğdiğim oluyor![]()
Merhaba yardım soruma sizin daha önce cevaplamıştınız. Ancak karavanımı teslim aldım ve sitemin açık eğimli olan oto parkına başarılı park ettim. Şimdi ise çıkış beni biraz geriyor yaşamadan anlamayacağımı da biliyorum. Cep telefonuma indirdiğim bir uygulama ile yokuşun açısını ölçtüm, bu yokuşta ne kadar riskim var, aracımın çekeceğine inanıyorum ancak karavan arkaya doğru eğim verir mi, arkası yere sürtme ihtimali var mı? Sizi sorularımla meşgul ettiğim için kusura bakmasın. Selam ve saygılarımla. Hasan TOPCU/SAMSUNÇizimlerde rampayı net 50m olarak belirledim. Bu mesafe kısalırsa eğimde artış olur.
Karavanınızın girebildiği bir garaj çok kullanışlı olmalı. Tavanda havalandırma tesisatı vb. üniteleri yer alıyor mu?
Karavanınız min.230-240 cm yüksekliğindedir. Bazı site otoparklarında denk geliyorum 200m üstü araç girişi yasak oluyor. Benim aracım 190cm bazen buralardan geçerken refleks olarak kafamı bile eğdiğim oluyor![]()
Selamlar, bu tarz uygulamalar tam olarak gerçek eğimi veremeyebilirler.Merhaba yardım soruma sizin daha önce cevaplamıştınız. Ancak karavanımı teslim aldım ve sitemin açık eğimli olan oto parkına başarılı park ettim. Şimdi ise çıkış beni biraz geriyor yaşamadan anlamayacağımı da biliyorum. Cep telefonuma indirdiğim bir uygulama ile yokuşun açısını ölçtüm, bu yokuşta ne kadar riskim var, aracımın çekeceğine inanıyorum ancak karavan arkaya doğru eğim verir mi, arkası yere sürtme ihtimali var mı? Sizi sorularımla meşgul ettiğim için kusura bakmasın. Selam ve saygılarımla. Hasan TOPCU/SAMSUN
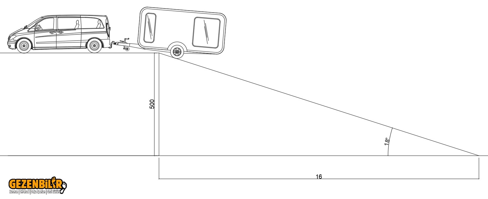
Yokuş eğimi= 18 derece gösterdi
Yokuş uzunluğu =23 metre
Yokuş sonu yükseklik=5metre